防爆電伴熱帶專用防爆溫度控制器適用于二區爆炸性氣體混合物T1-T4溫度級別場合自動控制管線或罐體的介質工藝溫度。防爆溫度控制器在使用時,如何正確接線關乎到防爆溫控器是否能夠正確的控制伴熱溫度。
防爆溫度控制器的接線在于將供電的220V電源通過漏電開關的下面接到溫控器上來,首先對于防爆溫控器來說電不分正負,但對溫控的要求就不一樣了,需要將電源的火線接到控制點 這端是必須的。溫度達到要求時先斷開火線而達到電伴熱帶的回路電壓、電流變為0,方以能保證安全。
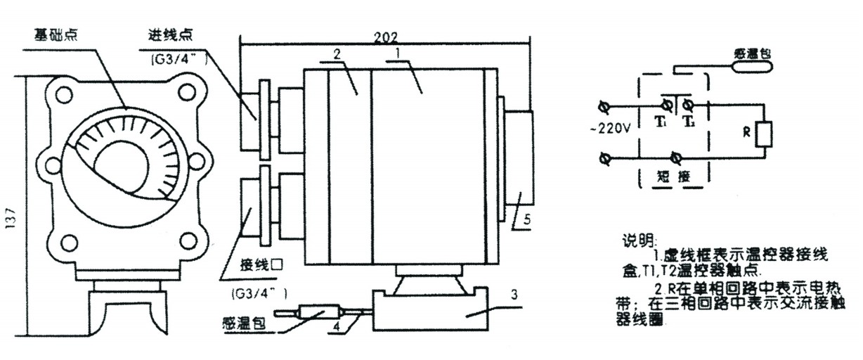
下圖為防爆溫度控制器:

防爆直接接線盒:

防爆三通(T型)接線盒:

防爆尾端接線盒:

防爆溫度控制器接線平面圖:





